AZ42330
John Deere 1085, 1085HY/4, 1185, 1188, 1188HY/4, 8500, 8700
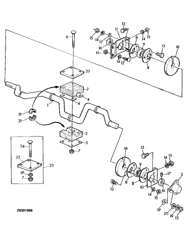
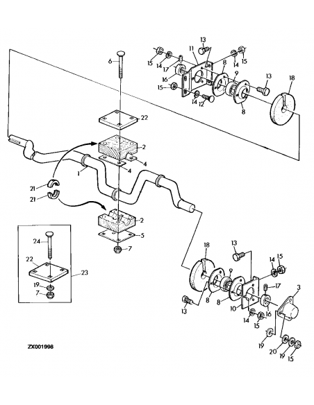
| KEY | PART NO. | PART NAME | QTY | SERIAL NO. | 1188 | 1188H4 | REMARKS | 
| 1 | AZ42330 | SHAFT | 1 | X | X | (SUB FOR AZ37649) | |
| 2 | AZ31217 | BEARING | 6 | ______-058552 | X | X | KIT, I.D.=38MM, INCL KEY 21 | 
| 3 | Z38380 | GUARD | 1 | X | X | ||
| 4 | Z40787 | SHIM | 24 | ______-058552 | X | X | |
| 5 | Z52070 | Plate | 6 | ______-058552 | X | X | (SUB FOR Z37922) | 
| 6 | Z40205 | Bolt | AR | ______-058552 | X | X | |
| 7 | 14M7167 | LOCK NUT | AR | X | X | M10 | |
| 8 | Z38395 | Pressed Flanged Housing | 4 | X | X | ||
| 9 | JD39103 | BALL BEARING | 2 | X | X | ||
| 10 | Z20051 | Bracket | 1 | X | X | ||
| 11 | Z43584 | Bracket | 1 | X | X | ||
| 12 | 03M7017 | Bolt | AR | X | X | M10X25 | |
| 13 | 19M7167 | CAP SCREW | AR | X | X | M10X25 | |
| 14 | 12M7013 | LOCK WASHER | AR | X | X | 10MM | |
| 15 | 14M7140 | NUT | AR | X | X | M10 | |
| 16 | AZ10045 | ECCENTRIC LOCKING COLLAR | 2 | X | X | INCL KEY 17 | |
| 17 | AZ19844 | SET SCREW | 2 | X | X | KIT | |
| 18 | Z22701 | Pad | 2 | X | X | ||
| 19 | 24M7040 | Washer | AR | X | X | 11MM | |
| 20 | Z36140 | Washer | AR | X | X | ||
| 21 | Z39428 | BEARING HOUSING W/O BEARING | 12 | X | X | ||
| 22 | Z57829 | Plate | 6 | ______-058552 | X | X | |
| 23 | AZ45725 | Plate | 1 | ______-058552 | X | X | KIT Z57829 (4)14M7167 (4)19M7668 (4)24M7040 | 
| 24 | 19M7668 | CAP SCREW | 4 | ______-058552 | X | X | M10X100 | 
            
            AZ42330.00
        
        
    
    
    
    
    No reviews
                    
      Comentarii (0)
    
    
      Nu sunt opinii ale clientilor in acest moment.
  
 
   
                             
                             
                             
                             
                     
                     
                    