Ax Transportor 35x1773 mm John Deere Z53258, AZ45480, Z57762, Z43932
Ax Transportor 35x1773 mm John Deere Z53258, AZ45480, Z57762, Z43932
Ax Transportor 35x1773 mm John Deere Z53258, AZ45480, Z57762, Z43932
Ax Transportor 35x1773 mm John Deere Z53258, AZ45480, Z57762, Z43932

Ax Transportor 35x1773 mm

Premium

Z53258

 

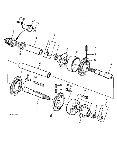
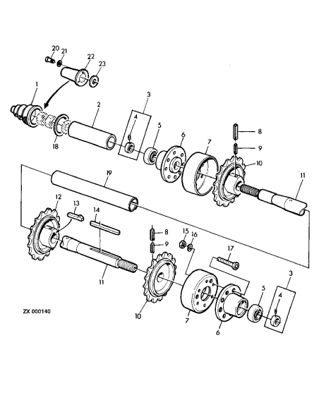
John Deere 1072, 1075, 1075HY4, 1174, 1174HY4, 1177, 1177HY4, 1450CWS, 110-16 1177, 1177Hy4 Combine / FEEDER CONVEYOR UPPER SHAFT

KEY PART NO. PART NAME QTY SERIAL NO. 1177 1177H4 REMARKS
Z35052  BOOT     
Z43926  SPACER     
AZ10020  ECCENTRIC LOCKING COLLAR    INCL KEY 4 
AZ19845  SET SCREW    KIT 
AZ19427  BALL BEARING     
Z12357  CASE  ______-058049  (SUB FOR Z11498) 
Z12357  CASE  058050-______  (SUB FOR Z11498) 
Z43927  DEFLECTOR     
34M7073  SPRING PIN    10X65MM 
34M7045  SPRING PIN    6X60MM 
10  Z11514  CHAIN SPROCKET    Z=13 
11  Z53258  DRIVE SHAFT  ______-058049  (ORD AZ45480,Z57762) (SUB FOR Z43932) 
11  Z57762  DRIVE SHAFT  058050-______   
12  Z11515  CHAIN SPROCKET    Z=13 
13  50M4203  Shaft Key    10X8X63MM 
14  49M4128  Shaft Key    10X8X125MM 
15  14M7029  NUT  AR    M8 
16  12M7008  LOCK WASHER  AR    8MM 
17  19M7574  Screw  16    M8X40 
18  Z38832  Washer     
19  Z45948  GUARD     
20  37M7125  Screw  AR    M6X16 
21  24M7088  Washer  AR    6,6MM 
22  Z47965  GUARD     
23  24M7091  Washer    26MM 

FJC53258-Z
No reviews
Comentarii (0)
Nu sunt opinii ale clientilor in acest moment.
Product added to wishlist
Produs adaugat la comparator

Pentru scopuri precum afișarea de conținut personalizat, folosim module cookie sau tehnologii similare. Apăsând Accept sau navigând pe acest website, ești de acord să permiți colectarea de informații prin cookie-uri sau tehnologii similare. Află in sectiunea Politica de Cookies mai multe despre cookie-uri, inclusiv despre posibilitatea retragerii acordului.